400快不限次数联系方式,免费同城空降服务,空降24小时上门服务,如何寻找接私活的女生微信

欢迎来到深圳南艺管业官网!专营国标美标日标CPVC-UPVC-FRP-PPH等工业管材/胶水/阀门销售,型号齐全,欢迎询价!

深圳南艺管业有限公司

(国标美标日标)化工.给水CPVC-UPVC-FRP-PPH管材厂家派遣技术现场指导&全程一对一追踪服务

24小时询价热线:198-8628-3953

UPVC化工管材
您的位置: 首页 > 产品中心 > UPVC化工管材

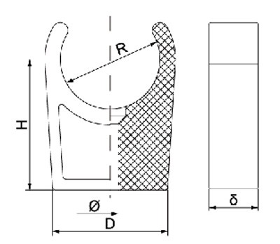
UPVC管件 管托/管夹/管卡


全国热线

198-8628-3953


管托(图1)

订购留言

24小时咨询热线

198-8628-3953
主站蜘蛛池模板: 肥乡县| 鹤峰县| 中阳县| 自贡市| 安顺市| 兴仁县| 岫岩| 台湾省| 大洼县| 南澳县| 汝阳县| 尉犁县| 宣化县| 长阳| 洛隆县| 博白县| 清徐县| 河源市| 商洛市| 贵溪市| 嵩明县| 大安市| 白沙| 枣强县| 贵定县| 兰溪市| 和政县| 高要市| 延庆县| 高青县| 托里县| 交口县| 东海县| 垣曲县| 茌平县| 买车| 蒙城县| 化德县| 宜都市| 和静县| 祁连县|